日本ROYAL MASTER液压冲孔机1150NSW
 |
闻诺货号:FP-1150NSW
规格型号:1150NSW
产品品牌:ROYAL MASTER
品牌所属地:日本
最小订货量:1
全国订购服务热线:021-6767-5169
工作时间:周一至周五 8:45-17:30 |

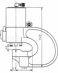
日本ROYAL MASTER液压冲孔机1150NSW性能特点: 1、高强度锻钢C型头经久耐用不易变形 2、复动式液压油缸强力退回油缸保证不卡模 3、退料装置间隙可调 4、冲孔定位精准下料无毛刺 5、液压泵操作开关整合于提柄便于操作 6、可用于建筑业大量工字钢冲孔作业
日本ROYAL MASTER液压冲孔机1150NSW规格参数: 1、出力:1000KN 2、重量:120KG 3、最大冲孔能力:¢30x25,¢32x23 4、喉深 :150mm 5、工作压力 :70Mpa

|